Truhlička EVERNICE
Truhlička EVERNICE
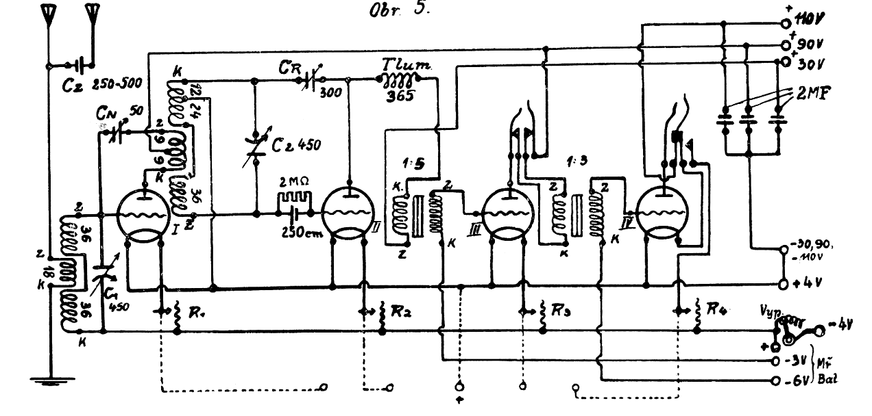
Znovu vás machry všechny žádám o radu sháním návod na tuhle stavebnici jediné co sem našel je že tam sou A409 4krát ,nejsou zapojeny cívky,přepínače a podobně předem děkuji za vaše reakce.Nedaří se mi sem nahrát více fotek tak sou na faceboku rubrika historicka radia
Naposledy upravil(a) ranlos dne 20.11. 2020, 11:54, celkem upraveno 2 x.
Re: Truhlička EVERNICE
Dej sem více fotek v dobré viditelnosti a z více stran, nejlépe i vnitřku v rozdělaném stavu. Takhle se z toho moc nepozná. Tady je něco podobného s více lampama. https://www.radiomuseum.org/r/evernice_e6bis.html
Nemá ta truhla ještě nějaký písmeno k té Evernici? Třeba E a pod.
Nemá ta truhla ještě nějaký písmeno k té Evernici? Třeba E a pod.
Re: Truhlička EVERNICE
EVERNICE E4 by to mělo býtJan55 píše: ↑19.11. 2020, 12:40Dej sem více fotek v dobré viditelnosti a z více stran, nejlépe i vnitřku v rozdělaném stavu. Takhle se zo toho moc nepozná. Tady je něco podobného s více lampama. https://www.radiomuseum.org/r/evernice_e6bis.html
Nemá ta truhla ještě nějaký písmeno k té Evernici? Třeba E a pod.
Re: Truhlička EVERNICE
Nejsem si jistý podle radiomuseum tam sou čtyři A409 a tři lad.kondenzatory na pěti vívodovou lampu není místo
Re: Truhlička EVERNICE
Jak to, že ne ? A441 má pátý vývod (g1) na patici z boku pomocí šroubku. Pokud se nedochovala, tak se bude velmi obtížně shánět. Jedině ji nahradit, nebo použít jiné zapojení, což se asi už stalo.
Re: Truhlička EVERNICE
Já tam mám tři lad.kondenzatory a podle radiomusea tam mají být čtyři A409 a tyhle cívky si mislím že tam nepatří
-
Martin 1374
- Příspěvky: 128
- Registrován: 31.01. 2020, 10:08
Re: Truhlička EVERNICE
A441 má vývod bočním šroubkem. Byla to elektronka používaná pro stavbu tzv. negadynů, což byly přijímače, které fungovaly s velmi nízkým anodovým napětím. Byla např. i ve vzácném přijímači Telegrafia Weekend. Neshání se zrovna nejlépe, ale nemožné to není. Jednu doma, myslím, mám.
Re: Truhlička EVERNICE
Děkuji za informace i za návod ale mám pořád pocit že to není ono cívky mají přepínače v sobě tak by měli být vyvedeny do předního panelu a o tu lampu bych měl zájem prodal by ste ji a nebo vyměnil
